Представители ритейл-гиганта Amazon запатентовали "умный" наручный браслет, который может фиксировать положение рук работников склада и контролировать их действия.

Об этом сообщает nplus1.

Если сотрудник с подобным браслетом на руке начнет класть товар в неправильный контейнер, то тактильная обратная связь немедленно даст ему сигнал об ошибке.

Предполагается, что такой подход позволит повысить эффективность работы сотрудников.

Когда кто-нибудь заказывает товар на Amazon, сведения о заказе передаются на карманный компьютер, которые носят все сотрудники склада. После получения деталей работники должны выбрать нужную вещь из ящиков на полках, упаковать ее и перейти к следующему заданию. Во время этого процесса могут возникать ошибки, и в новом патенте компания описала специальную систему контроля за действиями упаковщиков. 

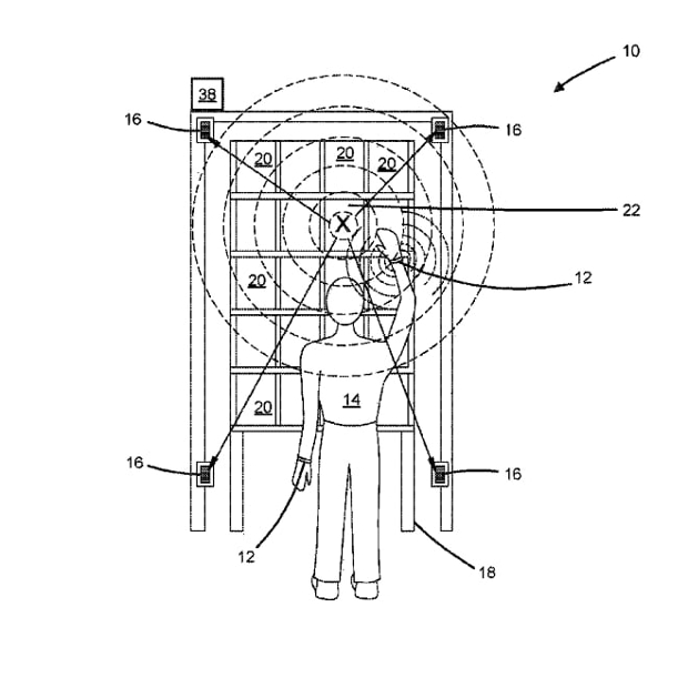
Она состоит из трех компонентов. Браслет испускает ультразвуковые и радиосигналы, которые получают специальные приемники, размещенные по периметру рабочего помещения. Вычислительный модуль обрабатывает данные и определяет положение рук работника относительно складских корзин. Если человек начнет тянуться не к той корзине, браслет завибрирует, указывая ему на ошибку. Кроме того, система гаптической отдачи оповестит сотрудника о начале перерыва или поможет найти ему нужный товар на складе. 

Заявка на патент на браслет и гаптическую систему была подана еще в 2016 году, однако одобрили ее только в прошлый вторник, 30 января 2018 года. Стоит заметить, что Amazon пока ничего не сообщала о начале производства устройств или планах по внедрению подобной системы в реальности. Как замечает Gizmodo, вероятно браслеты могу послужить переходным звеном к полной автоматизации - они будут использоваться до тех пор, пока роботы не смогут полностью заменить людей на складах.  

Роботы на складах Amazon работают уже давно, и показывают заметно большую эффективность, чем обычные сотрудники. Те операции, на которые человек тратит 60-75 минут, робот выполняет за 15. Кроме того, в некоторых странах стала автоматической и доставка товаров - в рамках программы Amazon Prime Air ее выполняют беспилотники. 

Схема работы новой системы, фото: Amazon / USPTO

Как сообщала "Страна", в Amazon рассказали о первых казусах работы нового магазина без касс и продавцов

Небольшие сложности могут появиться в случае покупки алкоголя подростков. Также сенсоры поначалу не могли разделять покупателей, примерно схожих по фигуре, а также есть проблемы с отовариванием близнецов.

Отметим, что Amazon переехал в новую штаб-квартиру с тропическим лесом под крышей.

Подпишитесь на телеграм-канал Политика Страны, чтобы получать ясную, понятную и быструю аналитику по политическим событиям в Украине.